黃銅立式止回閥(fá)

産品型号:H12X-16T

公稱壓(yā)力:1.0MPa

工作介質:水、非(fēi)腐蝕性液體、飽和(hé)蒸汽(≤0.6MPa)

工作溫度:-20℃≤t≤150℃

管(guǎn)螺紋标準:符合ISO228标(biāo)準     



産品詳情

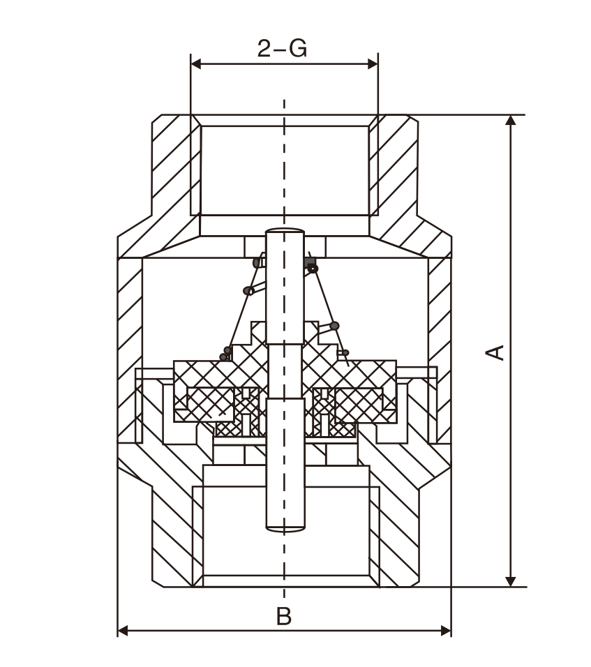
黃(huang)銅立式止回閥(圖(tú)1)

主要外形尺寸

DN(mm)

NPS(in)

A

B

G

SW

10

3/8

44

30

3/8

-

1/2

49

32

1/2

26.5

20

3/4

53

39

3/4

30

25

1

59

45

1

38